Z15T-10 內螺紋暗桿楔式閘閥
一、內螺紋暗桿楔式閘閥用途:
Z15T-10 內螺紋暗桿楔式閘閥廣泛用于石油、化工、制藥、電力等行業,在蒸氣、水、油類介質的管路上作啟閉用。

內螺紋暗桿楔式閘閥
二、內螺紋暗桿楔式閘閥主要零件材料:
零件名稱(Z15T-10) | 材 料 |
閥體、閥蓋 | 灰鑄鐵 |
閘 板 | 灰鑄鐵+黃銅 |
閥 桿 | 碳鋼(銅) |
閥桿螺母 | 青銅(球鐵) |
手 輪 | 灰鑄鐵(球鐵) |
三、內螺紋暗桿楔式閘閥性能規范
型號 | 公稱壓力 (MPa) | 試驗壓力 | 適用溫度 (℃) | 適用介質 | |
強度(水) (MPa) | 密封(水) (MPa) | ||||
Z15T-16 | 1.6 | 2.4 | 1.8 | ≤200 | 蒸氣、水 |
Z15W-16 | ≤100 | 油 | |||
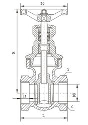
四、內螺紋暗桿楔式閘閥外型尺寸和連接尺寸
型 號 | 尺 寸 | 重 量(㎏) | |||
G | L | H | Do | ||
Z15T-16 | 1/2 | 60 | 100 | 60 | 0.6 |
3/4 | 70 | 114 | 60 | 0.77 | |
1 | 80 | 125 | 80 | 1.23 | |
1 1/4 | 85 | 145 | 80 | 1.77 | |
1 1/2 | 95 | 161 | 100 | 2.5 | |
2 | 110 | 190 | 100 | 3.77 | |