手動對夾式軟密封蝶閥
一、產品簡圖及性能特點
D71X手動對夾式軟密封蝶閥的主要特點有:1、結構簡單、緊湊,90°回轉開啟迅速;2、小型輕便,容易拆裝和維修,并可在任意位置安裝;3、D71X手動對夾式軟密封蝶閥操作扭矩小,開關輕巧省力;4、流量特性趨于直線,調節性能好;5、啟閉試驗次數可達萬次,使用壽命長;6、密封性能好,氣體試驗泄漏量為零。D71X手動對夾式軟密封蝶閥采用了多種零件材質配對,可適用于淡水、污水、海水、蒸汽、天然氣、食品、醫藥、油品及各種酸堿介質的管道,適用溫度-10°C +150°C,連接標準符合GB2555-81標準。D71X手動對夾式軟密封蝶閥的主要部件材質選用:閥體材質:鑄鐵、球鐵、不銹鋼、銅合金、鋁合金;蝶板材質:球鐵、不銹鋼、耐蝕鋼、鈦鋼、銅合金;閥座:丁晴、乙丙、氯丁、海泊倫、聚四氟乙烯、天然橡膠等。


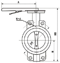
D71X手動對夾式軟密封蝶閥產品圖 D71X手動對夾式軟密封蝶閥外形尺寸圖
二、D71X-6/10/16手動對夾式軟密封蝶閥主要外形連接尺寸 單位:mm
DN | L | H | HO | A | B | 0.6MPa | 1.0MPa | 1.6MPa | |||
Do | n-d | Do | n-d | Do | n-d | ||||||
50 | 43 | 63 | 235 | 270 | 110 | 110 | 4-14 | 125 | 4-18 | 125 | 4-18 |
65 | 46 | 70 | 250 | 270 | 110 | 130 | 4-14 | 145 | 4-18 | 145 | 4-18 |
80 | 46 | 83 | 275 | 270 | 110 | 150 | 4-18 | 160 | 8-18 | 160 | 8-18 |
100 | 52 | 105 | 316 | 270 | 110 | 170 | 4-18 | 180 | 8-18 | 180 | 8-18 |
125 | 56 | 115 | 340 | 310 | 110 | 200 | 8-18 | 210 | 8-18 | 210 | 8-18 |
150 | 56 | 137 | 376 | 310 | 110 | 225 | 8-18 | 240 | 8-22 | 240 | 8-22 |
200 | 60 | 164 | 430 | 353 | 150 | 280 | 8-18 | 295 | 8-22 | 295 | 12-22 |
250 | 68 | 206 | 499 | 353 | 150 | 335 | 12-18 | 350 | 12-22 | 355 | 12-26 |
300 | 78 | 230 | 570 | 380 | 150 | 395 | 12-22 | 400 | 12-22 | 410 | 12-26 |